00101
00101
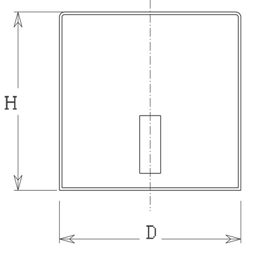
codice finituraØ esterno D (mm)altezza H (mm)scheda tecnica
00101 liscio 34,50 34,00 scarica
Torna indietro

Note

per bombole in banda stagnata

piastrina con gancio

Catalogo

E' disponibile il catalogo Capsol completo di tutti i nostri prodotti:

richiedi

Contatta Capsol

Puoi contattare Capsol ai recapiti indicati nel sito:

contattaci